2019-12-13发布 2020-03-01实施
为贯彻《中华人民共和国环境保护法》《中华人民共和国环境影响评价法》《规划环境影响评价条例》,规范和指导规划环境影响评价工作,从决策源头预防环境污染和生态破坏,促进经济、社会和环境的全面协调可持续发展,制定本标准。
本标准规定了规划环境影响评价的一般性原则、工作程序、内容、方法和要求。
规划环境影响评价技术导则 总纲
(HJ 130—2019)
1 适用范围
本标准规定了开展规划环境影响评价的一般性原则、工作程序、内容、方法和要求。
本标准适用于国务院有关部门、设区的市级以上地方人民政府及其有关部门组织编制的土地利用的有关规划,区域、流域、海域的建设、开发利用规划,以及工业、农业、畜牧业、林业、能源、水利、交通、城市建设、旅游、自然资源开发的有关专项规划的环境影响评价。其他规划的环境影响评价可参照执行。
各综合性规划、专项规划环境影响评价技术导则和技术规范等应根据本标准制(修)订。
2 规范性引用文件
本标准引用了下列文件或其中的条款。凡是不注日期的引用文件,其有效版本适用于本标准。
- HJ 2.2 环境影响评价技术导则 大气环境
- HJ 2.3 环境影响评价技术导则 地表水环境
- HJ 2.4 环境影响评价技术导则 声环境
- HJ 19 环境影响评价技术导则 生态影响
- HJ 169 建设项目环境风险评价技术导则
- HJ 610 环境影响评价技术导则 地下水环境
- HJ 623 区域生物多样性评价标准
- HJ 964 环境影响评价技术导则 土壤环境(试行)
3 术语和定义
下列术语和定义适用于本标准。
3.1 环境目标 environmental goals
指为保护和改善生态环境而设定的、拟在相应规划期限内达到的环境质量、生态功能和其他与生态环境保护相关的目标和要求,是规划编制和实施应满足的生态环境保护总体要求。
3.2 生态空间 ecological space
指具有自然属性、以提供生态服务或生态产品为主体功能的国土空间,包括森林、草原、湿地、河流、湖泊、滩涂、岸线、海洋、荒地、荒漠、戈壁、冰川、高山冻原、无居民海岛等区域,是保障区域生态系统稳定性、完整性,提供生态服务功能的主要区域。
3.3 生态保护红线 ecological conservation redline
指在生态空间范围内具有特殊重要生态功能、必须强制性严格保护的区域,是保障和维护国家生态安全的底线和生命线,通常包括具有重要水源涵养、生物多样性维护、水土保持、防风固沙、海岸生态稳定等功能的生态功能重要区域,以及水土流失、土地沙化、石漠化、盐渍化等生态环境敏感脆弱区域。
3.4 环境质量底线 environmental quality bottom line
指按照水、大气、土壤环境质量不断优化的原则,结合环境质量现状和相关规划、功能区划要求,考虑环境质量改善潜力,确定的分区域分阶段环境质量目标及相应的环境管控、污染物排放控制等要求。
3.5 资源利用上线 resource utilization upper limit line
以保障生态安全和改善环境质量为目的,结合自然资源开发管控,提出的分区域分阶段的资源开发利用总量、强度、效率等管控要求。
3.6 环境敏感区 environmental sensitive area
指依法设立的各级各类保护区域和对规划实施产生的环境影响特别敏感的区域,主要包括生态保护红线范围内或者其外的下列区域:
a)自然保护区、风景名胜区、世界文化和自然遗产地、海洋特别保护区、饮用水水源保护区;
b)永久基本农田、基本草原、森林公园、地质公园、重要湿地、天然林、野生动物重要栖息地、重点保护野生植物生长繁殖地、重要水生生物自然产卵场、索饵场、越冬场和洄游通道、天然渔场、水土流失重点预防区、沙化土地封禁保护区、封闭及半封闭海域;
c)以居住、医疗卫生、文化教育、科研、行政办公等为主要功能的区域,以及文物保护单位。
3.7 重点生态功能区 key ecological function area
指生态系统脆弱或生态功能重要,需要在国土空间开发中限制进行大规模高强度工业化城镇化开发,以保持并提高生态产品供给能力的区域。
3.8 生态系统完整性 ecosystem integrity
指自然生态系统通过其组织、结构、关系等应对外来干扰并维持自身状态稳定性和生产能力的功能水平。
3.9 环境管控单元 environmental control unit
指集成生态保护红线及生态空间、环境质量底线、资源利用上线的管控区域。
3.10 生态环境准入清单 list for eco-environmental permits
指基于环境管控单元,统筹考虑生态保护红线、环境质量底线、资源利用上线的管控要求,以清单形式提出的空间布局、污染物排放、环境风险防控、资源开发利用等方面生态环境准入要求。
3.11 跟踪评价 follow-up evaluation
指规划编制机关在规划的实施过程中,对已经和正在产生的环境影响进行监测、分析和评价的过程,用以检验规划实施的实际环境影响以及不良环境影响减缓措施的有效性,并根据评价结果,提出完善环境管理方案,或者对正在实施的规划方案进行修订。
4 总 则
4.1 评价目的
以改善环境质量和保障生态安全为目标,论证规划方案的生态环境合理性和环境效益,提出规划优化调整建议;明确不良生态环境影响的减缓措施,提出生态环境保护建议和管控要求,为规划决策和规划实施过程中的生态环境管理提供依据。
4.2 评价原则
4.2.1 早期介入、过程互动
评价应在规划编制的早期阶段介入,在规划前期研究和方案编制、论证、审定等关键环节和过程中充分互动,不断优化规划方案,提高环境合理性。
4.2.2 统筹衔接、分类指导
评价工作应突出不同类型、不同层级规划及其环境影响特点,充分衔接 “三线一单”成果,分类指导规划所包含建设项目的布局和生态环境准入。
4.2.3 客观评价、结论科学
依据现有知识水平和技术条件对规划实施可能产生的不良环境影响的范围和程度进行客观分析,评价方法应成熟可靠,数据资料应完整可信,结论建议应具体明确且具有可操作性。
4.3 评价范围
4.3.1 按照规划实施的时间维度和可能影响的空间尺度来界定评价范围。
4.3.2 时间维度上,应包括整个规划期,并根据规划方案的内容、年限等选择评价的重点时段。
4.3.3 空间尺度上,应包括规划空间范围以及可能受到规划实施影响的周边区域。周边区域确定应考虑各环境要素评价范围,兼顾区域流域污染物传输扩散特征、生态系统完整性和行政边界。
4.4 评价流程
4.4.1 工作流程
规划环境影响评价的一般工作流程见附录 A。
4.4.2 技术流程
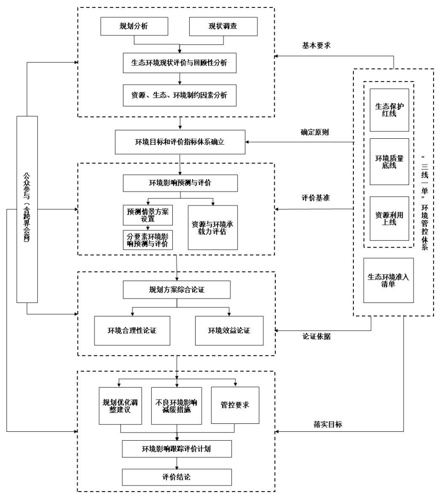
规划环境影响评价的技术流程见图 1。

图 1 规划环境影响评价技术流程图
(注:编写规划环境影响篇章或说明的技术流程可参照图 1 执行)
4.5 评价方法
规划环境影响评价各工作环节常用方法参见附录 B。开展具体评价工作时可根据需要选用,也可选用其他已广泛应用、可验证的技术方法。
5 规划分析
5.1 基本要求
规划分析包括规划概述和规划协调性分析。规划概述应明确可能对生态环境造成影响的规划内容;规划协调性分析应明确规划与相关法律、法规、政策的相符性,以及规划在空间布局、资源保护与利用、生态环境保护等方面的冲突和矛盾。
5.2 规划概述
介绍规划编制背景和定位,结合图、表梳理分析规划的空间范围和布局,规划不同阶段目标、发展规模、布局、结构(包括产业结构、能源结构、资源利用结构等)、建设时序,配套基础设施等可能对生态环境造成影响的规划内容,梳理规划的环境目标、环境污染治理要求、环保基础设施建设、生态保护与建设等方面的内容。如规划方案包含的具体建设项目有明确的规划内容,应说明其建设时段、内容、规模、选址等。
5.3 规划协调性分析
5.3.1 筛选出与本规划相关的生态环境保护法律法规、环境经济政策、环境技术政策、资源利用和产业政策,分析本规划与其相关要求的符合性。
5.3.2 分析规划规模、布局、结构等规划内容与上层位规划、区域“三线一单”管控要求、战略或规划环评成果的符合性,识别并明确在空间布局以及资源保护与利用、生态环境保护等方面的冲突和矛盾。
5.3.3 筛选出在评价范围内与本规划同层位的自然资源开发利用或生态环境保护相关规划,分析与同层位规划在关键资源利用和生态环境保护等方面的协调性,明确规划与同层位规划间的冲突和矛盾。
6 现状调查与评价
6.1 基本要求
开展资源利用和生态环境现状调查、环境影响回顾性分析,明确评价区域资源利用水平和生态功能、环境质量现状、污染物排放状况,分析主要生态环境问题及成因,梳理规划实施的资源、生态、环境制约因素。
6.2 现状调查
6.2.1 调查应包括自然地理状况、环境质量现状、生态状况及生态功能、环境敏感区和重点生态功能区、资源利用现状、社会经济概况、环保基础设施建设及运行情况等内容。实际工作中应根据规划环境影响特点和区域生态环境保护要求,从附录 C 中选择相应内容开展调查和资料收集,并附相应图件。
6.2.2 现状调查应立足于收集和利用评价范围内已有的常规现状资料,并说明资料来源和有效性。有常规监测资料的区域,资料原则上包括近 5 年或更长时间段资料,能够说明各项调查内容的现状和变化趋势。对其中的环境监测数据,应给出监测点位名称、监测点位分布图、监测因子、监测时段、监测频次及监测周期等,分析说明监测点位的代表性。
6.2.3 当已有资料不能满足评价要求,或评价范围内有需要特别保护的环境敏感区时,可利用相关研究成果,必要时进行补充调查或监测,补充调查样点或监测点位应具有针对性和代表性。
6.3 现状评价与回顾性分析
6.3.1 资源利用现状评价
明确与规划实施相关的自然资源、能源种类,结合区域资源禀赋及其合理利用水平或上线要求,分析区域水资源、土地资源、能源等各类资源利用的现状水平和变化趋势。
6.3.2 环境与生态现状评价
a)结合各类环境功能区划及其目标质量要求,评价区域水、大气、土壤、声等环境要素的质量现状和演变趋势,明确主要和特征污染因子,并分析其主要来源;分析区域环境质量达标情况、主要环境敏感区保护等方面存在的问题及成因,明确需解决的主要环境问题。
b)结合区域生态系统的结构与功能状况,评价生态系统的重要性和敏感性,分析生态状况和演变趋势及驱动因子。当评价区域涉及环境敏感区和重点生态功能区时,应分析其生态现状、保护现状和存在的问题等;当评价区域涉及受保护的关键物种时,应分析该物种种群与重要生境的保护现状和存在问题。明确需解决的主要生态保护和修复问题。
6.3.3 环境影响回顾性分析
结合上一轮规划实施情况或区域发展历程,分析区域生态环境演变趋势和现状生态环境问题与上一轮规划实施或发展历程的关系,调查分析上一轮规划环评及审查意见落实情况和环境保护措施的效果。提出本次评价应重点关注的生态环境问题及解决途径。
6.4 制约因素分析
分析评价区域资源利用水平、生态状况、环境质量等现状与区域资源利用上线、生态保护红线、环境质量底线等管控要求间的关系,明确提出规划实施的资源、生态、环境制约因素。
7 环境影响识别与评价指标体系构建
7.1 基本要求
识别规划实施可能产生的资源、生态、环境影响,初步判断影响的性质、范围和程度,确定评价重点,明确环境目标,建立评价的指标体系。
7.2 环境影响识别
7.2.1 根据规划方案的内容、年限,识别和分析评价期内规划实施对资源、生态、环境造成影响的途径、方式,以及影响的性质、范围和程度。识别规划实施可能产生的主要生态环境影响和风险。
7.2.2 对于可能产生具有易生物蓄积、长期接触对人群和生物产生危害作用的无机和有机污染物、放射性污染物、微生物等的规划,还应识别规划实施产生的污染物与人体接触的途径以及可能造成的人群健康风险。
7.2.3 对资源、生态、环境要素的重大不良影响,可从规划实施是否导致区域环境质量下降和生态功能丧失、资源利用冲突加剧、人居环境明显恶化等三个方面进行分析与判断,具体判断标准详见附录 D。
7.2.4 通过环境影响识别,筛选出受规划实施影响显著的资源、生态、环境要素,作为环境影响预测与评价的重点。
7.3 环境目标与评价指标确定
7.3.1 确定环境目标。分析国家和区域可持续发展战略、生态环境保护法规与政策、资源利用法规与政策等的目标及要求,重点依据评价范围涉及的生态环境保护规划、生态建设规划以及其他相关生态环境保护管理规定,结合规划协调性分析结论,衔接区域“三线一单”成果,设定各评价时段有关生态功能保护、环境质量改善、污染防治、资源开发利用等的具体目标及要求。
7.3.2 建立评价指标体系。结合规划实施的资源、生态、环境等制约因素,从环境质量、生态保护、资源利用、污染排放、风险防控、环境管理等方面构建评价指标体系。评价指标应符合评价区域生态环境特征,体现环境质量和生态功能不断改善的要求,体现规划的属性特点及其主要环境影响特征。
7.3.3 确定评价指标值。评价指标应易于统计、比较和量化,指标值符合相关产业政策、生态环境保护政策、相关标准中规定的限值要求,如国内政策、标准中没有相应的规定,也可参考国际标准来确定;对于不易量化的指标可参考相关研究成果或经过专家论证,给出半定量的指标值或定性说明。
8 环境影响预测与评价
8.1 基本要求
8.1.1 主要针对环境影响识别出的资源、生态、环境要素,开展多情景的影响预测与评价,一般包括预测情景设置、规划实施生态环境压力分析,环境质量、生态功能的影响预测与评价,对环境敏感区和重点生态功能区的影响预测与评价,环境风险预测与评价,资源与环境承载力评估等内容。
8.1.2 环境影响预测与评价应给出规划实施对评价区域资源、生态、环境的影响程度和范围,叠加环境质量、生态功能和资源利用现状,分析规划实施后能否满足环境目标要求,评估区域资源与环境承载能力。
8.1.3 应充分考虑不同层级和属性规划的环境影响特征以及决策需求,采用定性和定量相结合的方式开展评价。对主要环境要素的影响预测和评价可参考相应的环境影响评价技术导则(HJ 2.2、HJ 2.3、HJ 2.4、HJ 19、HJ 169、HJ 610、HJ 623、HJ 964 等)来进行。
8.2 环境影响预测与评价的内容
8.2.1 预测情景设置
应结合规划所依托的资源环境和基础设施建设条件、区域生态功能维护和环境质量改善要求
等,从规划规模、布局、结构、建设时序等方面,设置多种情景开展环境影响预测与评价。
8.2.2 规划实施生态环境压力分析
a)依据环境现状评价和回顾性分析结果,考虑技术进步等因素,估算不同情景下水、土地、能源等规划实施支撑性资源的需求量和主要污染物(包括常规污染物和特征污染物)的产生量、排放量。
b)依据生态现状评价和回顾性分析结果,考虑生态系统演变规律及生态保护修复等因素,评估不同情景下主要生态因子(如生物量、植被覆盖度/率、重要生境面积等)的变化量。
8.2.3 影响预测与评价
a)水环境影响预测与评价。预测不同情景下规划实施导致的区域水资源、水文情势、海洋水文动力环境和冲淤环境、地下水补径排状况等的变化,分析主要污染物对地表水和地下水、近岸海域水环境质量的影响,明确影响的范围、程度,评价水环境质量的变化能否满足环境目标要求,绘制必要的预测与评价图件。
b)大气环境影响预测与评价。预测不同情景下规划实施产生的大气污染物对环境空气质量的影响,明确影响范围、程度,评价大气环境质量的变化能否满足环境目标要求,绘制必要的预测与评价图件。
c)土壤环境影响预测与评价。预测不同情景下规划实施的土壤环境风险,评价土壤环境的变化能否满足相应环境管控要求,绘制必要的预测与评价图件。
d)声环境影响预测与评价。预测不同情景下规划实施对声环境质量的影响,明确影响范围、程度,评价声环境质量的变化能否满足相应的功能区目标,绘制必要的预测与评价图件。
e)生态影响预测与评价。预测不同情景下规划实施对生态系统结构、功能的影响范围和程度,评价规划实施对生物多样性和生态系统完整性的影响,绘制必要的预测与评价图件。
f)环境敏感区影响预测与评价。预测不同情景下规划实施对评价范围内生态保护红线、自然保护区等环境敏感区的影响,评价其是否符合相应的保护和管控要求,绘制必要的预测与评价图件。
g)人群健康风险分析。对可能产生具有易生物蓄积、长期接触对人群和生物产生危害作用的无机和有机污染物、放射性污染物、微生物等的规划,根据上述特定污染物的环境影响范围,估算暴露人群数量和暴露水平,开展人群健康风险分析。
h)环境风险预测与评价。对于涉及重大环境风险源的规划,应进行风险源及源强、风险源叠加、风险源与受体响应关系等方面的分析,开展环境风险评价。
8.2.4 资源与环境承载力评估
a)资源与环境承载力分析。分析规划实施支撑性资源(水资源、土地资源、能源等)可利用(配置)上线和规划实施主要环境影响要素(大气、水等)污染物允许排放量,结合现状利用和排放量、区域削减量,分析各评价时段剩余可利用的资源量和剩余污染物允许排放量。
b)资源与环境承载状态评估。根据规划实施新增资源消耗量和污染物排放量,分析规划实施对各评价时段剩余可利用资源量和剩余污染物允许排放量的占用情况,评估资源与环境对规划实施的承载状态。
9 规划方案综合论证和优化调整建议
9.1 基本要求
以改善环境质量和保障生态安全为核心,综合环境影响预测与评价结果,论证规划目标、规模、布局、结构等规划内容的环境合理性以及评价设定的环境目标的可达性,分析判定规划实施的重大资源、生态、环境制约的程度、范围、方式等,提出规划方案的优化调整建议并推荐环境可行的规划方案。如果规划方案优化调整后资源、生态、环境仍难以承载,不能满足资源利用上线和环境质量底线要求,应提出规划方案的重大调整建议。
9.2 规划方案综合论证
9.2.1 规划方案的综合论证包括环境合理性论证和环境效益论证两部分内容。前者从规划实施对资源、生态、环境综合影响的角度,论证规划内容的合理性;后者从规划实施对区域经济、社会与环境发挥的作用,以及协调当前利益与长远利益之间关系的角度,论证规划方案的合理性。
9.2.2 规划方案的环境合理性论证
a)基于区域环境保护目标以及 “三线一单”要求,结合规划协调性分析结论,论证规划目标与发展定位的环境合理性。
b)基于环境影响预测与评价和资源与环境承载力评估结论,结合资源利用上线和环境质量底线等要求,论证规划规模和建设时序的环境合理性。
c)基于规划布局与生态保护红线、重点生态功能区、其他环境敏感区的空间位置关系和对以上区域的影响预测结果,结合环境风险评价的结论,论证规划布局的环境合理性。
d)基于环境影响预测与评价和资源与环境承载力评估结论,结合区域环境管理和循环经济发展要求,以及规划重点产业的环境准入条件和清洁生产水平,论证规划用地结构、能源结构、产业结构的环境合理性。
e)基于规划实施环境影响预测与评价结果,结合生态环境保护措施的经济技术可行性、有效性,论证环境目标的可达性。
9.2.3 规划方案的环境效益论证
分析规划实施在维护生态功能、改善环境质量、提高资源利用效率、减少温室气体排放、保障人居安全、优化区域空间格局和产业结构等方面的环境效益。
9.2.4 不同类型规划方案综合论证重点
进行综合论证时,应针对不同类型和不同层级规划的环境影响特点,选择论证方向,突出重点。
a)对于资源能源消耗量大、污染物排放量高的行业规划,重点从流域和区域资源利用上线、环境质量底线对规划实施的约束、规划实施可能对环境质量的影响程度、环境风险、人群健康风险等方面,论述规划拟定的发展规模、布局(及选址)和产业结构的环境合理性。
b)对于土地利用的有关规划和区域、流域、海域的建设、开发利用规划,农业、畜牧业、林业、能源、水利、旅游、自然资源开发专项规划,重点从流域或区域生态保护红线、资源利用上线对规划实施的约束,以及规划实施对生态系统及环境敏感区、重点生态功能区结构、功能的影响和生态风险等角度,论述规划方案的环境合理性。
c)对于公路、铁路、城市轨道交通、航运等交通类规划,重点从规划实施对生态系统结构、功能所造成的影响,规划布局与评价区域生态保护红线、重点生态功能区、其他环境敏感区的协调性等方面,论述规划布局(及选线、选址)的环境合理性。
d)对于产业园区等规划,重点从区域资源利用上线、环境质量底线对规划实施的约束、规划及包括的交通运输实施可能对环境质量的影响程度以及环境风险与人群健康风险等方面,综合论述规划规模、布局、结构、建设时序以及规划环境基础设施、重大建设项目的环境合理性。
e)对于城市规划、国民经济与社会发展规划等综合类规划,重点从区域资源利用上线、生态保护红线、环境质量底线对规划实施的约束,城市环境基础设施对规划实施的支撑能力、规划及相关交通运输实施对改善环境质量、优化城市生态格局、提高资源利用效率的作用等方面,综合论述规划方案的环境合理性。
9.3 规划方案的优化调整建议
9.3.1 根据规划方案的环境合理性和环境效益论证结果,对规划内容提出明确的、具有可操作性的优化调整建议,特别是出现以下情形时:
a)规划的主要目标、发展定位不符合上层位主体功能区规划、区域“三线一单”等要求。
b)规划空间布局和包含的具体建设项目选址、选线不符合生态保护红线、重点生态功能区,以及其他环境敏感区的保护要求。
c)规划开发活动或包含的具体建设项目不满足区域生态环境准入清单要求、属于国家明令禁止的产业类型或不符合国家产业政策、环境保护政策。
d)规划方案中配套的生态保护、污染防治和风险防控措施实施后,区域的资源、生态、环境承载力仍无法支撑规划实施,环境质量无法满足评价目标,或仍可能造成重大的生态破坏和环境污染,或仍存在显著的环境风险。
e)规划方案中有依据现有科学水平和技术条件,无法或难以对其产生的不良环境影响的程度或范围作出科学、准确判断的内容。
9.3.2 应明确优化调整后的规划布局、规模、结构、建设时序,给出相应的优化调整图、表,说明优化调整后的规划方案具备资源、生态和环境方面的可支撑性。
9.3.3 将优化调整后的规划方案,作为评价推荐的规划方案。
9.3.4 说明规划环评与规划编制的互动过程、互动内容和各时段向规划编制机关反馈的建议及其被采纳情况等互动结果。
10 环境影响减缓对策和措施
10.1 规划的环境影响减缓对策和措施是针对评价推荐的规划方案实施后可能产生的不良环境影响,在充分评估规划方案中已明确的环境污染防治、生态保护、资源能源增效等相关措施的基础上,提出的环境保护方案和管控要求。
10.2 环境影响减缓对策和措施应具有针对性和可操作性,能够指导规划实施中的生态环境保护工作,有效预防重大不良生态环境影响的产生,并促进环境目标在相应的规划期限内可以实现。
10.3 环境影响减缓对策和措施一般包括生态环境保护方案和管控要求。主要内容包括:
a)提出现有生态环境问题解决方案,规划区域整体性污染治理、生态修复与建设、生态补偿等环境保护方案,以及与周边区域开展联防联控等预防和减缓环境影响的对策措施。
b)提出规划区域资源能源可持续开发利用、环境质量改善等目标、指标性管控要求。
c)对于产业园区等规划,从空间布局约束、污染物排放管控、环境风险防控、资源开发利用等方面,以清单方式列出生态环境准入要求,成果形式见附录 E。
11 规划所包含建设项目环评要求
11.1 如规划方案中包含具体的建设项目,应针对建设项目所属行业特点及其环境影响特征,提出建设项目环境影响评价的重点内容和基本要求,并依据规划环评的主要评价结论提出建设项目的生态环境准入要求(包括选址或选线、规模、资源利用效率、污染物排放管控、环境风险防控和生态保护要求等)、污染防治措施建设要求等。
11.2 对符合规划环评环境管控要求和生态环境准入清单的具体建设项目,应将规划环评结论作为重要依据,其环评文件中选址选线、规模分析内容可适当简化。当规划环评资源、环境现状调查与评价结果仍具有时效性时,规划所包含的建设项目环评文件中现状调查与评价内容可适当简化。
12 环境影响跟踪评价计划
12.1 结合规划实施的主要生态环境影响,拟定跟踪评价计划,监测和调查规划实施对区域环境质量、生态功能、资源利用等的实际影响,以及不良生态环境影响减缓措施的有效性。
12.2 跟踪评价取得的数据、资料和结果应能够说明规划实施带来的生态环境质量实际变化,反映规划优化调整建议、环境管控要求和生态环境准入清单等对策措施的执行效果,并为后续规划实施、调整、修编,完善生态环境管理方案和加强相关建设项目环境管理等提供依据。
12.3 跟踪评价计划应包括工作目的、监测方案、调查方法、评价重点、执行单位、实施安排等内容。主要包括:
a)明确需重点调查、监测、评价的资源生态环境要素,提出具体监测计划及评价指标,以及相应的监测点位、频次、周期等。
b)提出调查和分析规划优化调整建议、环境影响减缓措施、环境管控要求和生态环境准入清单落实情况和执行效果的具体内容和要求,明确分析和评价不良生态环境影响预防和减缓措施有效性的监测要求和评价准则。
c)提出规划实施对区域环境质量、生态功能、资源利用等的阶段性综合影响,环境影响减缓措施和环境管控要求的执行效果,后续规划实施调整建议等跟踪评价结论的内容和要求。
13 公众参与和会商意见处理
收集整理公众意见和会商意见,对于已采纳的,应在环境影响评价文件中明确说明修改的具体内容;对于未采纳的,应说明理由。
14 评价结论
14.1 评价结论是对全部评价工作内容和成果的归纳总结,应文字简洁、观点鲜明、逻辑清晰、结论明确。
14.2 在评价结论中应明确以下内容:
a)区域生态保护红线、环境质量底线、资源利用上线,区域环境质量现状和演变趋势,资源利用现状和演变趋势,生态状况和演变趋势,区域主要生态环境问题、资源利用和保护问题及成因,规划实施的资源、生态、环境制约因素。
b)规划实施对生态、环境影响的程度和范围,区域水、土地、能源等各类资源要素和大气、水等环境要素对规划实施的承载能力,规划实施可能产生的环境风险,规划实施环境目标可达性分析结论。
c)规划的协调性分析结论,规划方案的环境合理性和环境效益论证结论,规划优化调整建议等。
d)减缓不良环境影响的生态环境保护方案和管控要求。
e)规划包含的具体建设项目环境影响评价的重点内容和简化建议等。
f)规划实施环境影响跟踪评价计划的主要内容和要求。
g)公众意见、会商意见的回复和采纳情况。
15 环境影响评价文件的编制要求
15.1 规划环境影响评价文件应图文并茂、数据详实、论据充分、结构完整、重点突出、结论和建议明确。
15.2 环境影响报告书应包括的主要内容
a)总则。概述任务由来,明确评价依据、评价目的与原则、评价范围、评价重点、执行的环境标准、评价流程等。
b)规划分析。介绍规划不同阶段目标、发展规模、布局、结构、建设时序,以及规划包含的具体建设项目的建设计划等可能对生态环境造成影响的规划内容;给出规划与法规政策、上层位规划、区域“三线一单”管控要求、同层位规划在环境目标、生态保护、资源利用等方面的符合性和协调性分析结论,重点明确规划之间的冲突与矛盾。
c)现状调查与评价。通过调查评价区域资源利用状况、环境质量现状、生态状况及生态功能等,说明评价区域内的环境敏感区、重点生态功能区的分布情况及其保护要求,分析区域水资源、土地资源、能源等各类自然资源现状利用水平和变化趋势,评价区域环境质量达标情况和演变趋势,区域生态系统结构与功能状况和演变趋势,明确区域主要生态环境问题、资源利用和保护问题及成因。对已开发区域进行环境影响回顾性分析,说明区域生态环境问题与上一轮规划实施的关系。明确提出规划实施的资源、生态、环境制约因素。
d)环境影响识别与评价指标体系构建。识别规划实施可能影响的资源、生态、环境要素及其范围和程度,确定不同规划时段的环境目标,建立评价指标体系,给出评价指标值。
e)环境影响预测与评价。设置多种预测情景,估算不同情景下规划实施对各类支撑性资源的需求量和主要污染物的产生量、排放量,以及主要生态因子的变化量。预测与评价不同情景下规划实施对生态系统结构和功能、环境质量、环境敏感区的影响范围与程度,明确规划实施后能否满足环境目标的要求。根据不同类型规划及其环境影响特点,开展人群健康风险分析、环境风险预测与评价。评价区域资源与环境对规划实施的承载能力。
f)规划方案综合论证和优化调整建议。根据规划环境目标可达性论证规划的目标、规模、布
局、结构等规划内容的环境合理性,以及规划实施的环境效益。介绍规划环评与规划编制互动情况。明确规划方案的优化调整建议,并给出调整后的规划布局、结构、规模、建设时序。
g)环境影响减缓对策和措施。给出减缓不良生态环境影响的环境保护方案和管控要求。
h)如规划方案中包含具体的建设项目,应给出重大建设项目环境影响评价的重点内容要求和简化建议。
i)环境影响跟踪评价计划。说明拟定的跟踪监测与评价计划。
j)说明公众意见、会商意见回复和采纳情况。
k)评价结论。归纳总结评价工作成果,明确规划方案的环境合理性,以及优化调整建议和调整后的规划方案。
15.3 环境影响报告书中图件的要求
a)规划环境影响评价文件中图件一般包括规划概述相关图件,环境现状和区域规划相关图件,现状评价、环境影响评价、规划优化调整、环境管控、跟踪评价计划等成果图件。
b)成果图件应包含地理信息、数据信息,依法需要保密的除外。
c)报告书应包含的成果图件及格式、内容要求见附录 F。实际工作中应根据规划环境影响特点和区域环境保护要求,选取提交附录 F 中相应图件。
15.4 规划环境影响篇章(或说明)应包括的主要内容
a)环境影响分析依据。重点明确与规划相关的法律法规、政策、规划和环境目标、标准。
b)现状调查与评价。通过调查评价区域资源利用状况、环境质量现状、生态状况及生态功能等,分析区域水资源、土地资源、能源等各类资源现状利用水平,评价区域环境质量达标情况和演变趋势,区域生态系统结构与功能状况和演变趋势等,明确区域主要生态环境问题、资源利用和保护问题及成因。明确提出规划实施的资源、生态、环境制约因素。
c)环境影响预测与评价。分析规划与相关法律法规、政策、上层位规划和同层位规划在环境目标、生态保护、资源利用等方面的符合性和协调性。预测与评价规划实施对生态系统结构和功能、环境质量、环境敏感区的影响范围与程度。根据规划类型及其环境影响特点,开展环境风险预测与评价。评价区域资源与环境对规划实施的承载能力,以及环境目标的可达性。给出规划方案的环境合理性论证结果。
d)环境影响减缓措施。给出减缓不良生态环境影响的环境保护方案和环境管控要求。针对主要环境影响提出跟踪监测和评价计划。
e)根据评价需要,在篇章(或说明)中附必要的图、表。
附 录
- 附录 A(规范性附录)规划环境影响评价一般工作流程
- 附录 B(资料性附录)规划环境影响评价方法
- 附录 C(规范性附录)环境现状调查内容
- 附录 D(资料性附录)判识重大不良生态环境影响需考虑的因素
- 附录 E(规范性附录)环境管控要求和生态环境准入清单包含内容
- 附录 F(规范性附录)环境影响报告书图件要求
注:附录详情请下载附件查阅
附件下载:


