2022-06-16 发布 2022-06-16 实施
山西省标准化创新贡献奖标准项目
奖评审规范
DB14/T 2478—2022
1 范 围
本文件规定了山西省标准化创新贡献奖标准项目奖评审的术语和定义、总体原则、基本要求、专家资质、评审内容、评审方法及流程、持续改进。
本文件适用于山西省标准化创新贡献奖专家评审组对各类标准项目的评审。
2 规范性引用文件
下列文件中的内容通过文中的规范性引用而构成本文件必不可少的条款。其中,注日期的引用文件,仅该日期对应的版本适用于本文件;不注日期的引用文件,其最新版本(包括所有的修改单)适用于本文件。
- GB/T 1.1 标准化工作导则第 1 部分:标准化文件的结构和起草规则
3 术语和定义
下列术语和定义适用于本文件。
3.1 山西省标准化创新贡献奖
经中央批准,由山西省人民政府设立的奖项,包括标准项目奖、个人奖。
3.2 山西省标准化创新贡献奖标准项目奖
山西省标准化创新贡献奖奖项之一,以表彰奖励山西省行政区域内依法设立的法人、非法人组织主导或牵头起草,在山西省经济社会全方位高质量发展中取得显著经济、社会、质量、生态效益的标准项目。
3.3 评 审
专家通过查阅材料,与汇报人进行交流,就标准项目的先进性、创新性、实用性及取得的效益进行讨论、评议的活动。
4 缩 略 语
下列缩略语适用于本文件:
- 领导小组办公室:山西省标准化和质量强省领导小组办公室
- 标准项目奖:山西省标准化创新贡献奖标准项目奖
5 总体原则
5.1 倡导先进
面向经济社会发展的全领域,客观评价标准项目的先进程度,鼓励各类组织将山西优势产业发展、优质产品(服务)提供、先进技术研发、社会治理规范等方面的先进经验转化为标准,发挥标准在全方位推动高质量发展中的支撑、保障和引领作用。
5.2 突出创新
立足山西主导产业的转型升级和战略性新兴产业的培育壮大,科学评价标准项目的创新水平,引导新一代信息技术、新材料、新能源、新装备、生物技术等新兴领域创新成果的标准转化,发挥标准在推动创新与产业实现有效衔接、耦合互动中的导向作用。
5.3 精准规范
按照标准化工作的基本原则,根据各类标准项目所对应功能和对象的不同,精准评价标准中所列指标和内容体例的规范程度,促进各类组织规范、有效、全面地编制标准文件。
5.4 注重实效
围绕标准化在服务经济社会发展过程中的实际作用,准确评价标准项目的实施应用水平,推动各类组织积极实施、应用、推广先进标准和创新标准,发挥标准化在提升经济效益、社会效益、质量效益和生态效益方面的战略作用。
6 基本要求
6.1 参评的各类标准项目应由山西省行政区域内依法设立的法人、非法人组织主导或牵头起草。
6.2 参评标准项目:
- ——由国际标准化组织(ISO)、国际电工委员会(IEC)、国际电信联盟(ITU)等国际标准化机构发布的国际标准;
- ——国家标准、国家军用标准、国家标准化指导性技术文件、标准样品;
- ——在国家标准委备案的行业标准、地方标准、地方标准化指导性技术文件及其他经过法定渠道发布的标准化文件;
- ——在全国团体标准信息平台或企业标准信息公共服务平台进行自我声明公开的团体标准、企业标准。
6.3 参评标准项目应正式发布实施 2 年以上(含 2 年)且现行有效。
6.4 参评标准项目编制应符合 GB/T 1.1 的要求。
6.5 参评标准项目内容和制定程序应符合有关法律法规的规定。
6.6 参评标准项目应在本区域、本行业范围内广泛应用,并取得相应效益。
6.7 参评标准项目未获得过中国标准创新贡献奖或山西省标准化创新贡献奖。
6.8 评审应坚持宁缺毋滥,奖项可空缺。
7 专家资质
7.1 专家应具备以下条件:
- ——认真贯彻执行党的路线方针政策,熟悉标准化法律、法规、规章和标准化综合改革的相关政策、规定;
- ——具有正高级专业技术职称或行政正处级及以上职务,身体健康,能胜任评审工作;
- ——熟悉本行业或本专业领域国内外标准化工作及行业总体发展现状和趋势,有丰富的理论造诣和实践工作经验;
- ——作风正派,有良好的职业道德,能认真履行评审工作职责,严格遵守评审工作纪律;
- ——能服从评审工作需要,安排时间参与山西省标准化创新贡献奖评审活动。
7.2 评审专家在参与评审工作前应签订《评审专家纪律承诺书》,见附录 A,应履行公正、保密、独立评审的义务,遵守评审纪律,并在评审过程中接受监督。存在以下情形的,评审专家应当在相应奖项评审中回避:
- ——与参评标准项目起草人或起草单位属于同一单位;
- ——存在其他可能影响评审工作公正性的情况。
7.3 国家级专家、省外专家可由国家标准化主管部门、技术机构和相关省、自治区、直辖市标准化行政主管部门推荐。
7.4 省内专家可来自省内行业主管部门、高等院校、科研院所、社会团体、相关企业等。
8 评审内容
8.1 先进性
对标准项目先进性评审包括但不限于以下内容:
- ——所确立的技术路径处于国际、国内或省内的领先程度;
- ——所确立的指标处于国际、国内或省内的领先程度:
① 指标体系的领先程度;
② 主要技术指标的领先程度;
③ 个别技术指标的领先程度。
8.2 创新性
对标准项目创新性的评审包括但不限于以下内容:
- ——所属领域为经济社会发展的重点领域、重要形式;
- ——所界定的管理、技术内容等填补相应领域空白;
- ——标准中的关键技术获得科学技术奖项情况和专利、软件著作权等知识产权。
8.3 实用性
对标准项目的实用性评审包括但不限于以下内容:
- ——标准在其“适用范围”内的应用情况;
- ——标准实施的周期、资源投入、可控度、准确度等情况;
- ——标准与法律法规、政策文件(规划、战略、计划等)、制度(认证认可、检验检测、招投标、政府采购等)结合情况。
8.4 效益评价
8.4.1 经济效益
标准项目实施效果的经济效益包括但不限于以下内容:
- ——给所在企业带来的经济效益;
- ——给行业或产业发展带来的经济效益;
- ——给实施区域带来的经济效益。
8.4.2 社会效益
标准项目实施效果的社会效益包括但不限于以下内容:
- ——对行业经营管理水平的提升;
- ——对高技术创新的促进;
- ——对社会治理和公共服务能力的提升;
- ——对高质量发展的支撑。
8.4.3 质量效益
标准项目实施效果的质量效益包括但不限于以下内容:
- ——对相应产品、工程的使用寿命、质量等级、优等品率和效能的突破或提升;
- ——对相应产品、工程技术性能和有益组成的突破或提升;
- ——对服务对象满意度的提升;
- ——对过程控制的精准、精度等方面的优化。
8.4.4 生态效益
标准项目实施效果的生态效益包括但不限于以下内容:
- ——对能源资源节约方面所起到的作用;
- ——对减少环境污染方面所起到的作用;
- ——对循环再利用和可持续发展方面所起到的作用。
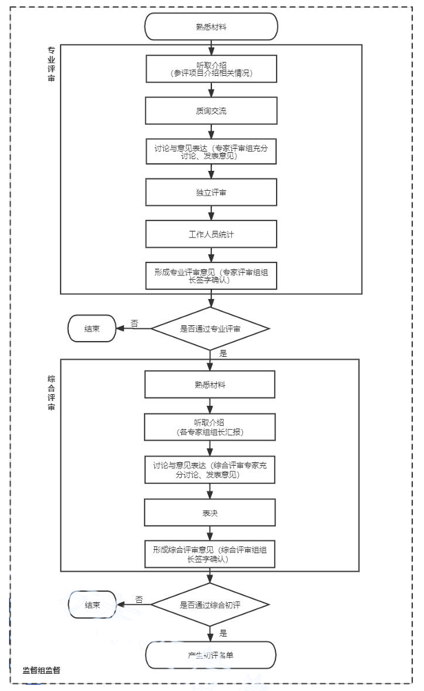
9 评审方法及流程
9.1 标准项目奖的评审分为专业评审和综合评审两轮进行。
9.2 专业评审是专家通过书面评审、质询交流、讨论及意见表达等方式,对参评标准项目进行评价的过程,注重从专业角度进行评价。
9.3 专业评审在全面评审的基础上,更为突出标准实施及取得的效益。
9.4 综合评审是专家依据“突出贡献、综合比较、综合平衡”的原则,结合行业宏观管理、政策制定等方面的实际情况,对通过专业评审的标准项目进行综合评价的过程。
9.5 综合评审更加注重从宏观角度进行评价,在专业评审的基础上,应重点考虑:
- ——标准文件所属领域与国家及省、市重大战略、重点工程等经济社会全方位高质量发展的契合度;
- ——标准文件的实施对行业、产业、区域的实际贡献度。
9.6 评审全程在监督工作组有效监督下开展,并主动接受社会各界的监督。
9.7 评审流程见图 1。

图 1 标准项目奖评审流程图
- 注:形成初评名单后,推荐单位、领导小组办公室依次按照《山西省标准化创新 贡献奖管理办法》的相关规定,完成后续评审程序。
10 持续改进
10.1 应根据经济社会发展和标准化综合改革的持续深入,适时对本文件进行修订完善。
10.2 在使用过程中,对存在的问题应及时予以改进。
10.3 应适时对获奖项目的应用、效益等情况开展跟踪评价,收集各方反馈对本文件进行修订完善。
附 录 A
(规范性)
评审专家纪律承诺书
本人参加山西省标准化创新贡献奖评审工作,做出如下承诺:
- 严格按照《山西省标准化创新贡献奖管理办法》及有关规定和要求,独立、客观、公正地开展评审工作,认真履行专家职责,严格遵守评审纪律。
- 评审与自身有利益关系的评审对象时,主动申明并回避。
- 不以任何方式泄露与评审工作相关的任何信息,包括但不限于专家评审意见、现场统计情况等;不以任何方式泄露参评对象的相关信息。
- 不以任何方式擅自与评审对象联系,不利用特殊身份和影响,采取非正常手段为评审对象提供便利。
- 不谋取任何形式的不正当利益,不以任何方式收取评审对象给予的任何形式的报酬等,不要求或暗示评审对象接受各种类型的咨询、辅导及其他服务。
- 恪守职业操守,不发生其他任何影响评审公正性的行为。
若本人违反上述承诺,自愿接受处分和承担相应的法律责任。
承诺专家: .
日 期: .


